GB/T 39932-2021 制鞋機械 裁斷機與沖孔機 安全要求
- 發表時間:2023-03-10
- 來源:共立消防
- 人氣:
1 范圍
本標準規定了液壓裁斷機與沖孔機(以下簡稱“機器”)的設計和操作的相關安全要求。
本標準適用于鞋類、皮革和人造革及其他柔性材料產品制造中所使用的液壓裁斷機和沖孔機。
本標準不適用于機械式裁斷機、金屬冷加工壓力機(含沖床)、打孔機、鉚釘機、修邊機、折邊機、折彎機、切紙機及類似于剪刀類工作的設備。同時也不適用于皮革行業使用的熨平機、片皮機。
2 規范性引用文件
下列文件對于本文件的應用是必不可少的。凡是注日期的引用文件,僅注日期的版本適用于本文件。凡是不注日期的引用文件,其最新版本(包括所有的修改單)適用于本文件。
GB/T 1251.3-2008 人類工效學 險情和信號的視聽信號體系
GB/T 3766-2015 液壓傳動 系統及其元件的通用規則和安全要求
GB/T 4208-2017 外殼防護等級(IP代碼)
GB/T 5226.1-2019 機械電氣安全 機械電氣設備 第1部分:通用技術條件
GB/T 7932-2017 氣動 對系統及其元件的一般規則和安全要求
GB/T 8196-2018 機械安全 防護裝置 固定式和活動式防護裝置的設計與制造一般要求
GB/T 12265.3-1997 機械安全 避免人體各部位擠壓的最小間距
GB/T 13441.1-2007 機械振動與沖擊 人體暴露于全身振動的評價 第1部分:一般要求
GB/T 14048.4-2020 低壓開關設備和控制設備 第4-1部分:接觸器和電動機起動器 機電式接觸器和電動機起動器(含電動機保護器)
GB/T 14048.5-2017 低壓開關設備和控制設備 第5-1部分:控制電路電器和開關元件 機電式控制電路電器
GB/T 14048.10-2016 低壓開關設備和控制設備 第5-2部分:控制電路電器和開關元件 接近開關
GB/T 15706-2012 機械安全 設計通則 風險評估與風險減少
GB/T 16754-2008 機械安全 急停 設計原則
GB/T 16855.1-2018 機械安全 控制系統安全相關部件 第1部分:設計通則
GB/T 17421.5-2015 機床檢驗通則 第5部分:噪聲發射的確定
GB/T 17888.2-2020 機械安全 接近機械的固定設施 第2部分:工作平臺與通道
GB/T 18153-2000 機械安全 可接觸表面溫度 確定熱表面溫度限值的工效學數據
GB/T 18209.2-2010 機械電氣安全 指示、標志和操作 第2部分:標志要求
GB/T 18717.1-2002 用于機械安全的人類工效學設計 第1部分:全身進入機械的開口尺寸確定原則
GB/T 18717.2-2002 用于機械安全的人類工效學設計 第2部分:人體局部進入機械的開口尺寸確定原則
GB/T 18831-2017 機械安全 與防護裝置相關的聯鎖裝置 設計和選擇原則
GB/T 19436.1-2013 機械電氣安全 電敏保護設備 第1部分:一般要求和試驗
GB/T 19436.2-2013 機械電氣安全 電敏保護設備 第2部分:使用有源光電保護裝置(AOPDs)設備的特殊要求
GB/T 19671-2005 機械安全 雙手操縱裝置 功能狀況及設計原則
GB/T 19876-2012 機械安全 與人體部位接近速度相關的安全防護裝置的定位
GB/T 23821-2009 機械安全 防止上下肢觸及危險區的安全距離
GB/T 25078.1-2010 聲學 低噪聲機器和設備設計實施建議 第1部分:規劃
GB/T 28780-2012 機械安全 機器的整體照明
ISO 9355-1:1999 顯示和控制指示器設計的人類工效學要求 第1部分:顯示和控制指示器人機交換(Ergonomic requirements for the design of displays and control actuators-Part 1:Human inter-actions with displays and control actuators)
ISO 9355-2:1999 顯示和控制指示器設計的人類工效學要求 第2部分:顯示(Ergonomic re-quirements for the design of displays and control actuators Part 2:Displays)
3 術語和定義
GB/T 15706-2012界定的以及下列術語和定義適用于本文件。
3.1
液壓裁斷機 hydraulic cutting press
通過液壓系統將能量傳遞給刀模,實現對柔性物料進行沖裁、切斷的機器。
3.2
搖臂式液壓裁斷機 hydraulic swing arm cutting press
工作臺固定在下方,在工作臺上方配有一個可做約180°水平圓弧運動的搖臂,液壓系統將能量通過搖臂上的裁斷面傳遞給刀模,實現對柔性物料進行沖裁、切斷的機器。
注:該液壓裁斷機的播臂操作可分手動與機動,見圖1、圖2、圖3。

說明:
1——控制裝置;
2——搖臂;
3——裁斷墊板;
4——裁斷面。
圖1 搖臂式液壓裁斷機

說明:
1——裁斷墊板;
2——手動搖臂:
3——裁斷面;
4——控制裝置;
5——刀模。
圖2 手動搖臂式液壓裁斷機的危險區域(L區、S1區、T區)

說明:
1——裁斷墊板;
2——機動搖臂;
3——裁斷面:
4——控制裝置;
5——刀模;
6——基準點A;
7——基準點B;
8——電敏防護裝置。
圖3 機動搖臂式液壓裁斷機的危險區域(L區、S1區、S2區、T區)
3.3
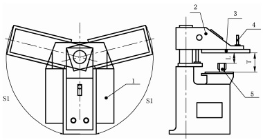
壓頭移動式液壓裁斷機 hydraulic travelling head cutting press
工作臺面固定于下方,在上橫梁上裝配可移動的裁斷壓頭,可沿工作臺面寬度內作左右水平移動而對柔性物料進行沖裁、切斷的機器。
見圖4。
以上為標準部分內容,如需看標準全文,請到相關授權網站購買標準正版。
-
IG541混合氣體滅火系統
IG541混合氣體滅火系統:IG-541滅火系統采用的IG-541混合氣體滅火劑是由大氣層中的氮氣(N2)、氬氣(Ar)和二氧化碳(CO2)三種氣體分別以52%、40%、8%的比例混合而成的一種滅火劑 -
二氧化碳氣體滅火系統
二氧化碳氣體滅火系統:二氧化碳氣體滅火系統由瓶架、滅火劑瓶組、泄漏檢測裝置、容器閥、金屬軟管、單向閥(滅火劑管)、集流管、安全泄漏裝置、選擇閥、信號反饋裝置、滅火劑輸送管、噴嘴、驅動氣體瓶組、電磁驅動 -
七氟丙烷滅火系統
七氟丙烷(HFC—227ea)滅火系統是一種高效能的滅火設備,其滅火劑HFC—ea是一種無色、無味、低毒性、絕緣性好、無二次污染的氣體,對大氣臭氧層的耗損潛能值(ODP)為零,是鹵代烷1211、130 -
手提式干粉滅火器
手提式干粉滅火器適滅火時,可手提或肩扛滅火器快速奔赴火場,在距燃燒處5米左右,放下滅火器。如在室外,應選擇在上風方向噴射。使用的干粉滅火器若是外掛式儲壓式的,操作者應一手緊握噴槍、另一手提起儲氣瓶上的


