MT 153-1987 中心單鏈刮板輸送機蛙形鏈接頭
- 發表時間:2022-08-31
- 來源:共立消防
- 人氣:
本標準適用于煤礦井下中心單鏈刮板輸送機及轉載機中連接礦用高強度圓環鏈的蛙形鏈接頭(以下簡稱鏈接頭)。
1 名詞定義
1.1 規格:本標準中鏈接頭的規格指與其相配合的圓環鏈的棒料直徑和節距。
1.2 破斷負荷:在拉伸試驗中,鏈接頭試件能承受的最大負荷。
2 產品規格及尺寸參數
2.1 本標準包括 10 mm×40 mm、14 mm×50 mm、26 mm×92 mm、30 mm×108 mm 四種規格的鏈接頭,其幾何形狀及主要尺寸應符合圖1、表1的規定。

圖1 蛙形鏈接頭
表1 mm
尺寸 規格 | A | b | R | d |
10×40 | 46 + 0. 5 | 11 | 5. 5 | 11 |
14×50 | 62 + 0. 75 | 15 | 7. 5 | 13. 5 |
26×92 | 110 + 1 | 36 | 14. 5 | 22 |
30×108 | 130 + 1 | 55 | 17. 5 | 26 |
2.2 標記示例
規格為26 mm×92 mm鏈接頭的標記為:
鏈接頭 26×92 MT 153—87
3 技術要求
3.1 鏈接頭應符合本標準的要求,并按照經規定程序批準的圖樣和技術文件制造。
3.2 鏈接頭應采取符合國家標準或部標準、鍛造性能良好的鎮靜鋼制造。在保證鏈接頭機械性能符合本標準規定的情況下,鋼材牌號可由制造廠選擇。
3.3 鏈接頭表面不得有裂紋、分層、結疤、剝落或類似缺陷,并在影響使用和強度的部位不得有缺肉現象。
3.4 本標準規定的鏈接頭加工后,須進行熱處理,保證硬度HRC 35以上。
3.5 鏈接頭靜拉伸試驗須符合表2規定,卸載后檢查,不得有目視裂紋。
表 2
鏈接頭規格,mm | 破斷負荷,kN |
10X40 | ≥130 |
14X50 | ≥250 |
26X92 | ≥850 |
30X108 | ≥1 130 |
注:適用于低于C級的圓環鏈(包括C級)。 | |
3.6 鏈接頭表面應涂防銹保護層。
4 試驗方法
試驗項目為靜拉伸試驗。
4.1 試驗條件
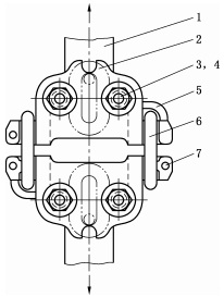
4.1.1 鏈接頭試件為兩個活接頭(包括鏈接頭、擋環、鏈環、開口銷、U型螺栓、螺母)裝配在一起,見圖2。

1—夾具;2—鏈接頭;3—U型螺栓;4一螺母;
5—擋環;6一鏈環;7—開口銷
圖 2
4.1.2 對試驗機的要求:靜拉伸試驗機的加載范圍應能滿足鏈接頭做拉伸試驗所需加載的范圍要求, 其精度應符合有關國家標準。試驗機應具有自動記錄機構,并應定期進行校驗。
4.1.3 對試驗用夾具的要求:試驗用夾具、U型螺栓、螺母、試驗用鏈環與鏈接頭之間接觸表面的形狀 和尺寸應符合實際承載時的形狀和尺寸,并應具有足夠的剛性。
4.2 試驗方法
試件裝配好,在試驗機上拉緊后,以9.8N/(mm2?s)的速度加載到表2規定的破斷負荷數值為止 (斷面積按同一公稱尺寸的圓環鏈總截面計算)。
5 檢驗規則
5.1 每批產品須經制造廠技術檢驗部門檢驗合格后方準出廠。
5.2 試件應在成品鏈接頭中任意抽取,試件不得有任何掩飾缺陷的涂層。
5.3 出廠檢驗包括尺寸檢驗、表面質量檢驗和靜拉伸試驗。
5.3.1 尺寸及表面質量檢驗
成批生產的鏈接頭以500件為一組,不足500件時仍視為一組,抽檢數量每組中不得少于5件,對試 件的尺寸和表面質量按圖樣、技術文件和本標準表1及3.3條進行檢驗。如有一件一項不合格,應在同 一組其余的件數中抽取加倍數量的試件再進行檢驗,檢驗結果仍不合格時,則應對該組產品逐件檢驗。
5.3.2 靜拉伸試驗
經尺寸檢驗合格的鏈接頭以1 000件為一組,不足1 000件的仍視為一組,每組中抽取4件進行試 驗,其結果應符合表2的規定,如不合格須從同組其余的鏈接頭中再加倍數量抽取試件進行試驗,其結 果應符合表2的規定,否則該組產品為不合格品。試驗用擋環、鏈環破壞使鏈接頭未達要求者除外,并 另行取樣補做試驗。
6 標志、包裝
6.1 各制造廠應將本廠廠標打印或鍛制在鏈接頭的明顯部位。
6.2 鏈接頭作為單獨產品出廠時應捆扎牢固或采用箱裝。在運輸過程中不應散開,并須附有產品質量 合格證。合格證內容應包括規格、數量、檢驗日期及檢驗人員代號。
6.3 鏈接頭隨主機出廠時按MT 150-87《刮板輸送機和轉載機包裝通用技術條件》標準執行。
附加說明:
本標準由煤炭工業部技術發展司提出。
本標準由西北煤礦機械總廠一廠負責起草。
本標準主要起草人岳淑秋。
本標準委托煤炭科學研究院太原分院負責解釋。
以上為標準部分內容,如需看標準全文,請到相關授權網站購買標準正版。
-
IG541混合氣體滅火系統
IG541混合氣體滅火系統:IG-541滅火系統采用的IG-541混合氣體滅火劑是由大氣層中的氮氣(N2)、氬氣(Ar)和二氧化碳(CO2)三種氣體分別以52%、40%、8%的比例混合而成的一種滅火劑 -
二氧化碳氣體滅火系統
二氧化碳氣體滅火系統:二氧化碳氣體滅火系統由瓶架、滅火劑瓶組、泄漏檢測裝置、容器閥、金屬軟管、單向閥(滅火劑管)、集流管、安全泄漏裝置、選擇閥、信號反饋裝置、滅火劑輸送管、噴嘴、驅動氣體瓶組、電磁驅動 -
七氟丙烷滅火系統
七氟丙烷(HFC—227ea)滅火系統是一種高效能的滅火設備,其滅火劑HFC—ea是一種無色、無味、低毒性、絕緣性好、無二次污染的氣體,對大氣臭氧層的耗損潛能值(ODP)為零,是鹵代烷1211、130 -
手提式干粉滅火器
手提式干粉滅火器適滅火時,可手提或肩扛滅火器快速奔赴火場,在距燃燒處5米左右,放下滅火器。如在室外,應選擇在上風方向噴射。使用的干粉滅火器若是外掛式儲壓式的,操作者應一手緊握噴槍、另一手提起儲氣瓶上的


