AQ 1101-2014 煤礦用炸藥抗爆燃性測定方法和判定規則
- 發表時間:2022-09-11
- 來源:共立消防
- 人氣:
1 范圍
本標準規定了炸藥抗爆燃性測定裝置和器材、試驗條件、測定準備、測定步驟和測定結果的判定等。
本標準適用于煤礦用炸藥。
2 規范性引用文件
下列文件對于本文件的應用是必不可少的。凡是注日期的引用文件,僅所注日期的版本適用于本文件。凡是不注日期的引用文件,其最新版本(包括所有的修改單)適用于本文件。
GB/T 1468 描圖紙
GB 8031 工業電雷管
GB 18450-2001 民用黑火藥
3 術語和定義
下列術語和定義適用于本文件。
3.1
抗爆燃性:anti-deflagration property
炸藥本身所具備的、對其產生爆燃現象的抵抗能力。
3.2
全燃:full deflagration
指受測炸藥藥卷完全燒盡,只殘留一片燒熔的鹽餅。
4 方法提要
將受測炸藥藥卷置于密封的鋼制臼炮炮孔中,經受人為制造的高溫、高壓環境,觀察受測炸藥藥卷的燃燒狀態,并以此來判定炸藥的抗爆燃性。
5 測定裝置和器材
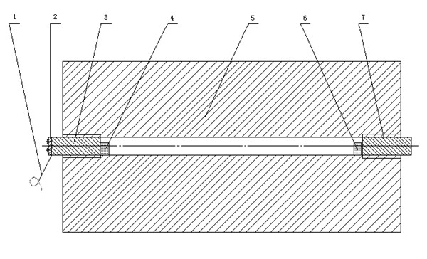
5.1 爆燃臼炮
鋼制爆燃臼炮的外徑為560mm±1mm ;炮孔直徑為57mm±0.5mm、長為820mm±1mm。炮孔的前、后兩端均以帶螺紋的密封塞封閉。前端的密封塞中間有雷管腳線孔,以一塊用螺釘擰緊的蓋板密封腳線孔(見圖1)。
5.2 密封膠圈
由5mm±0.2mm厚膠板,按密封塞直徑制作。
5.3 卷制主爆藥卷和受測藥卷紙筒的模具
直徑35mm±0.1mm,中心有透氣孔。
5.4 描圖紙
符合GB/T 1468規定的描圖紙。
5.5 黑火藥
黑火藥應符合GB 18450-2001中規定的3號。
5.6 電引火頭
符合GB 8031的規定。
5.7 架盤天平
感量0.5g。

1-腳線;
2-蓋板;
3-前端密封塞;
4-主爆藥卷;
5-臼炮體;
6-受測藥卷;
7-后端密封塞。
圖1 爆燃臼炮示意圖
6 試驗條件
6.1 一級、二級煤礦許用炸藥主爆藥為黑火藥且藥量為20.0g±0.1g;三級煤礦許用炸藥主爆藥為黑火藥且藥量為35.0g±0.1g;
6.2 受測藥量為30.0g±0.1g;
6.3 試驗時環境溫度為10℃~30℃。
7 測定準備
7.1 主爆藥卷的制備
將按規定尺寸(230mm×200mm)裁好的描圖紙,用5.3中規定的模具卷制成一帶底的、高為165mm的雙層紙筒。將稱量好的黑火藥倒入紙筒,再將電引火頭插入黑火藥,并用腳線將電引火頭與藥卷固定待用。
7.2 受測藥卷的制備
7.2.1 測定粉狀炸藥
將按規定尺寸(230mm×100mm)裁好的描圖紙,用5.3中規定的模具卷制成一帶底的、高為65mm的雙層紙筒。將稱量好的30g受測炸藥倒入紙筒,用模具輕輕壓實至規定的密度,并將開口端窩好待用。
7.2.2 測定含水炸藥
將稱量好的30g受測炸藥,用規定尺寸(230mm×100mm)裁好的描圖紙裝藥待用。
8 測定步驟
8.1 將臼炮炮孔內壁以及前、后密封塞擦拭干凈。
8.2 在臼炮炮孔后端口內墊好密封膠圈,然后將后端密封塞固定好,并用搬手擰緊。
8.3 將受測藥卷由前端臼炮口輕輕推入炮孔后端。
8.4 將主爆藥卷置于臼炮孔前端孔內,墊好密封膠圈。
8.5 將二根腳線穿過前端密封塞的中心孔,并將前端密封塞固定的前端炮孔上,用搬手擰緊。
8.6 將蓋板用螺釘固定在前端密封塞的端面上。
8.7 將二根腳線分別與發爆器的兩個輸出端連接。
8.8 在安全地點擰動發爆器開關,向雷管送電起爆。起爆時前后密封塞不應有漏氣現象,否則該次測定無效。
8.9 起爆后首先取下發爆器開關,并斷開一個接線端。等2min后,擰開前端密封塞上的蓋板,再將前、后兩端密封塞擰開。觀察受測藥卷是否全燃,并作記錄。
9 測定結果的判定
試驗采用二次抽樣方案(10,10/0,2;1,2),即第一次試驗的全燃頻數=0/10時,判為合格,全燃頻數≥2/10時,判為不合格;當全燃頻數=1/10時,進行第二次試驗,二次試驗總全燃頻數=1/20時,仍判為合格,否則判為不合格。
以上為標準部分內容,如需看標準全文,請到相關授權網站購買標準正版。
-
IG541混合氣體滅火系統
IG541混合氣體滅火系統:IG-541滅火系統采用的IG-541混合氣體滅火劑是由大氣層中的氮氣(N2)、氬氣(Ar)和二氧化碳(CO2)三種氣體分別以52%、40%、8%的比例混合而成的一種滅火劑 -
二氧化碳氣體滅火系統
二氧化碳氣體滅火系統:二氧化碳氣體滅火系統由瓶架、滅火劑瓶組、泄漏檢測裝置、容器閥、金屬軟管、單向閥(滅火劑管)、集流管、安全泄漏裝置、選擇閥、信號反饋裝置、滅火劑輸送管、噴嘴、驅動氣體瓶組、電磁驅動 -
七氟丙烷滅火系統
七氟丙烷(HFC—227ea)滅火系統是一種高效能的滅火設備,其滅火劑HFC—ea是一種無色、無味、低毒性、絕緣性好、無二次污染的氣體,對大氣臭氧層的耗損潛能值(ODP)為零,是鹵代烷1211、130 -
手提式干粉滅火器
手提式干粉滅火器適滅火時,可手提或肩扛滅火器快速奔赴火場,在距燃燒處5米左右,放下滅火器。如在室外,應選擇在上風方向噴射。使用的干粉滅火器若是外掛式儲壓式的,操作者應一手緊握噴槍、另一手提起儲氣瓶上的


