AQ 4204-2008 呼吸性粉塵個體采樣器
- 發表時間:2022-09-25
- 來源:共立消防
- 人氣:
1 范圍
本標準規定了呼吸性粉塵個體采樣器的術語、技術要求、試驗方法、檢驗規則、標識、包裝和貯存。
本標準適用于個人佩帶,能夠連續8 h采集呼吸性粉塵的采樣器。
2 規范性引用文件
下列文件中的條款通過本標準的引用而成為本標準的條款。凡是注日期的引用文件,其隨后所有 的修改單(不包括勘誤的內容)或修訂版均不適用于本標準,然而,鼓勵根據本標準達成協議的各方研究 是否可使用這些文件的最新版本。凡是不注日期的引用文件,其最新版本適用于本標準。
GB/T 2423.1 電工電子產品基本環境試驗規程 試驗A:低溫試驗方法
GB/T 2423.2 電工電子產品基本環境試驗規程 試驗B:高溫試驗方法
GB/T 2423.4 電工電子產品基本環境試驗規程 試驗Db:交變濕熱試驗方法
GB/T 2423.5 電工電子產品環境試驗 第2部分:試驗方法 試驗Ea和導則:沖擊
GB/T 2423.8 電工電子產品環境試驗 第2部分:試驗方法 試驗Ed:自由跌落
GB/T 2423.10 電工電子產品環境試驗 第2部分:試驗方法 試驗Fc和導則:振動(正弦)
GB 3836.1 爆炸性氣體環境用電氣設備 第1部分:通用要求
GB 3836.2 爆炸性氣體環境用電氣設備 第2部分:隔爆型“d”
GB 3836.4 爆炸性氣體環境用電氣設備 第4部分:本質安全型“I”
GB 4208 外殼防護等級
GBZ 2.1 工作場所有害因素職業接觸限值 化學有害因素
3 術語和定義
3.1
呼吸性粉塵respirable dust
按呼吸性粉塵標準測定方法所采集的可進入肺泡的粉塵粒子,其空氣動力學直徑均在7.07 gm以下,空氣動力學直徑5 gm粉塵粒子的采樣效率為50%,簡稱“呼塵”。
[GBZ 2.1-2007,定義 3.8]
3.2
呼吸性粉塵個體采樣器(簡稱個體采樣器)personal sampler for respirable dust
適用于個人佩帶的采集呼吸性粉塵的裝置。主要由采樣泵和呼吸性粉塵采樣頭組成。
3.3
呼吸性粉塵采樣頭 collector for respirabk dust
由兩級組成。第一級為預分離器,分離性能符合BMRC曲線要求;第二級為濾膜采集器,采集呼吸 性粉塵。
3.4
呼吸性粉塵透過率 penetration of respirable dust
呼吸性粉塵透過預分離器的百分率。
3.5
額定流量 design flow
采樣器的設計流量。
3.6
負載能力 capacity of load
在規定的采樣流量下,采樣器克服氣路和采樣頭采塵過程增加阻力的能力。
4 技術要求
4.1 設計要求
個體采樣器應配備氣流脈動阻尼裝置、流量穩定裝置、計時器和佩戴裝置;個體采樣器主機與采樣 頭的連接需用強度高、抗破裂、柔性好的優質橡膠管,膠管內徑為(7±1)mm,壁厚為1.5 mm;可不帶流 量計,若帶有流量計,其精度不應低于2.5%,分度值為0.1L/mm。個體采樣器在不影響其技術性能的 條件下應盡量輕便,使用方便安全,不影響工作,質量應小于1 kg。
4.2 表觀檢查
目測檢查個體采樣器各旋鈕應無松動和破損,各零部件連結可靠,不應有銹蝕及損傷。連續工作 8 h以上時,個體采樣器各部件應無燒損或其他異常現象。選用的濾膜應有質量檢驗合格證或由有資 質的質量檢驗機構出具的檢驗合格報告。
4.3 流量
4.3.1 按5.2.1方法進行流量穩定性試驗,采樣流量變化應在±5%范圍內。
4.3.2 按5.2.2方法進行負載能力試驗,采樣流量相對額定流量變化應在±5%范圍內。
4.4 氣密性
按5.3方法試驗,負壓從2.5 kPa下降到0.04 kPa的時間應大于5 mm。
4.5 測塵誤差
按5.4方法試驗,個體采樣器的測塵誤差應小于±10%。
4.6 絕緣電阻和絕緣強度
4.6.1 按5.5方法測量,各帶電回路與外殼(或大地)之間絕緣電阻在常態下應不小于20 MΩ。
4.6.2 經5.7.3交變濕熱試驗后,再按5.5方法測量,各帶電回路與外殼(或大地)之間絕緣電阻在常 態下應不小于1.5 MΩ。
4.6.3 按5.6方法測量,各帶電回路與外殼(或大地)之間,按其工作電壓不同,應能承受表1的絕緣強 度試驗。
表1 絕緣強度試驗電壓值 單位為伏
額定工作電壓 | 絕緣強度電壓值 |
≤60 | 500 |
>60-125 | 1 000 |
>125 | 1 500 |
4.7 防爆
在有爆炸危險的環境中使用的個體采樣器,應符合GB 3836.1、GB 3836.2和GB 3836.4的要求。
4.8 外殼防護性能
按GB 4208方法進行試驗,外殼防護等級應不低于IP 54的要求。
4.9 計時器
計時器的工作時間應與流量計的工作時間同步,計時器的量程應大于8 h,計時誤差應在±10 s/h 范圍內。
4.10 環境適應性
按5.7方法試驗,個體采樣器分別經工作溫度、貯存溫度、交變濕熱、沖擊、自由跌落和振動試驗后, 應無變形、機械損傷及零部件松動現象,并符合4.2、4.3、4.4要求。
4.11 對呼吸性粉塵采樣頭的要求
4.11.1 按5.8方法試驗,呼吸性粉塵透過率與BMRC曲線對應值的標準差應小于±5%。
4.11.2 測塵濾膜的直徑應與采樣頭濾膜夾直徑相適合。
4.12 對采樣泵的要求
4.12.1 采樣泵的使用壽命在額定流量下應大于3 000 h。
4.12.2 按5.9方法測量,采樣泵的聲功率級在額定流量下應小于60 dB(A)。
4.12.3 按5.10方法測量,采樣泵在額定流量下連續運行8 h時,溫升不應超過10 ℃。
5 試驗方法
5.1 試驗環境條件
除非試驗方法中另有說明,本章各項試驗應在下述環境條件中進行。
a)溫度:15 ℃ ?35 ℃;
b)相對濕度:45%?80% ;
c)大氣壓力:86 kPa?106 kPa。
5.2 流量試驗
5.2.1 流量穩定性試驗
帶流量計的個體采樣器在正常運行狀態下連續8 h帶載運行,用分度值為0.1 s的計時器,每隔 10 min記錄流量計的讀數,計算流量變化。
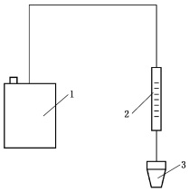
對不帶流量計的個體采樣器,用精度為2.5%,分度值為0.1 L/mm的流量計,按圖1所示連接,再 按前述方法進行試驗,應保證連接氣密。

1--個體采樣器主機;
2--流量計;
3--采樣頭。
圖 1 不帶流量計的個體采樣器流量穩定性試驗連接示意圖
5.2.2 負載能力試驗
5.2.2.1 儀器
5.2.2.1.1 流量計:精度為2.5%,分度值為0.1 L/mim。
5.2.2.1.2 壓力計:量程為4 kPa,分度值為10Pa。
以上為標準部分內容,如需看標準全文,請到相關授權網站購買標準正版。
-
IG541混合氣體滅火系統
IG541混合氣體滅火系統:IG-541滅火系統采用的IG-541混合氣體滅火劑是由大氣層中的氮氣(N2)、氬氣(Ar)和二氧化碳(CO2)三種氣體分別以52%、40%、8%的比例混合而成的一種滅火劑 -
二氧化碳氣體滅火系統
二氧化碳氣體滅火系統:二氧化碳氣體滅火系統由瓶架、滅火劑瓶組、泄漏檢測裝置、容器閥、金屬軟管、單向閥(滅火劑管)、集流管、安全泄漏裝置、選擇閥、信號反饋裝置、滅火劑輸送管、噴嘴、驅動氣體瓶組、電磁驅動 -
七氟丙烷滅火系統
七氟丙烷(HFC—227ea)滅火系統是一種高效能的滅火設備,其滅火劑HFC—ea是一種無色、無味、低毒性、絕緣性好、無二次污染的氣體,對大氣臭氧層的耗損潛能值(ODP)為零,是鹵代烷1211、130 -
手提式干粉滅火器
手提式干粉滅火器適滅火時,可手提或肩扛滅火器快速奔赴火場,在距燃燒處5米左右,放下滅火器。如在室外,應選擇在上風方向噴射。使用的干粉滅火器若是外掛式儲壓式的,操作者應一手緊握噴槍、另一手提起儲氣瓶上的


