AQ/T 1068-2008 煤自燃傾向性的氧化動力學測定方法
- 發表時間:2022-09-29
- 來源:共立消防
- 人氣:
1 范圍
本標準規定了煤自燃傾向性的氧化動力學測定方法的測試系統、測試條件、測試步驟、分類與分類指標,并界定了相關的術語和定義。
本標準適用于煤自燃傾向性的鑒定。
2 規范性引用文件
下列文件中的條款通過本標準的引用而成為本標準的條款。凡是注日期的引用文件,其隨后所有 的修改單(不包括勘誤的內容)或修訂版均不適用于本標準,然而,鼓勵根據本標準達成協議的各方研究 是否可使用這些文件的最新版本。凡是不注日期的引用文件,其最新版本適用于本標準。
GB 474-1996 煤樣的制備方法
GB 482-1995 煤層煤樣采取方法
GB/T 19222-2003 煤巖樣品采取方法
GB/T 20104-2006 煤自燃傾向性色譜吸氧鑒定法
JJG 700-1999 氣相色譜儀檢定規程
3 術語和定義
下列術語和定義適用于本標準。
3.1
煤自燃傾向性 propensity of coal to spontaneous combustion
煤在常溫下氧化能力的內在屬性。
3.2
氧化動力學 oxidation kinetics
從化學動力學角度研究煤氧化反應過程的方法。
3.3
程序升溫 programmed-temperature heating
煤樣所在控溫箱的溫度按預先設定的升溫速率進行升溫。
3.4
交叉點溫度 crossing point temperature
在程序升溫條件下,煤樣幾何中心溫度與控溫箱溫度相等時的溫度即為交叉點溫度,記作Tcpi。
3.5
標準氣樣 calibration gas
標準氣樣是一種高度均勻、穩定性良好和量值準確的氣體,本標準指氧氣濃度為20.96%的干空氣。
3.6
判定指數 classification index
綜合反映煤自燃傾向性的鑒定指標。
4 方法提要
本標準通過測試在程序升溫條件下煤樣溫度達70 ℃時煤樣罐出氣口氧氣濃度和之后的交叉點溫度,得出煤自燃傾向性的判定指數,根據該指數對煤自燃傾向性的分類作出鑒定。
5 測試系統與輔助器材
5.1 測試系統
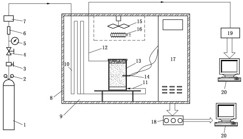
本標準的測試系統由干空氣瓶、氣體預熱銅管、煤樣罐、控溫箱、氣體采集及分析系統和數據采集系 統等部分組成(圖1)。

1--干空氣瓶;
2--減壓閥;
3--穩壓閥;
4--穩流閥;
5--壓力表;
6--氣阻;
7--流量傳感器;
8--隔熱層;
9--控溫箱;
10--氣體預熱銅管;
11--進氣管;
12--出氣管;
13--煤樣罐;
14--箱電阻溫度傳感器;
15--風扇;
16--加熱器;
17--控制器及顯示鍵盤;
18--數據采集系統;
19--氣相色譜儀;
20--計算機。
圖1 煤自燃傾向性鑒定系統
5.1.1 干空氣瓶
總壓力滿足氣瓶使用規定,減壓閥出口壓力穩定在0.5 MPa。
5.1.2 氣體預熱銅管
氣體預熱管路為純銅材質管路,長50 m、外徑怩mm、內徑1 mm。
5.1.3 控溫箱
控溫箱內壁為不銹鋼材質,內壁和外殼之間裝設有石棉保溫層,能夠實現恒溫、程序升溫兩種運行方式,其可控溫度范圍為室溫?350 ℃,控溫精度為±0.5 ℃。可通過設定參數,對氣體流量、控溫方式 及控溫箱溫度等條件進行控制。
5.1.4 氣體采集與分析系統
通過外徑公mm、內徑M mm的不銹鋼管將煤樣溫度達70 ℃時的煤樣罐出氣口氣樣送入氣相色譜儀進行分析。
5.1.5 數據采集系統
數據采集系統對煤樣幾何中心的溫度和煤樣罐所處控溫箱的內部溫度進行實時采集。
5.1.6 煤樣罐
煤樣罐為黃銅材質圓柱體,結構見附錄A。
5.2 輔助器材
a)煤樣粉碎機。
b)標準分析篩。
c) 天平(精度:0.1g)。
6 測試步驟
6.1 測試準備
6.1.1 煤樣的采取
按GB 482-1995,GB/T 19222-2003的規定采取煤樣,同時應遵照附錄B的規定。
6.1.2 煤樣的制備
按GB 474-1996制備煤樣,同時符合以下規定:
a)用堆錐四分法縮分至500 g?600 g,用于制備分析煤樣,其余煤樣密封后存封,以備存查。
b)將煤樣粉碎后篩分0.18 mm?0.38 mm粒度范圍,并按GB 474-1996空氣干燥方法制成 40 ℃空氣干燥煤樣作為待測煤樣。
c)待測煤樣在廣口瓶中密封保存,并于7天內完成相關參數的測定。
d)原始煤樣及分析煤樣在鑒定報告完成后繼續封存6個月。
6.1.3 儀器檢查與裝樣
a)檢查儀器的氣密性。
b)檢查鋁電阻溫度傳感器、數據采集系統的運行狀態,并對存在的問題進行調試。
c) 對氣相色譜儀進行調試,熱導檢測器TCD除滿足JJG 700-1999的規定外還須達到以下條 件:柱箱控溫精度為±0.1% ;基線噪聲≤30 μV(峰對峰),基線漂移≤150 MV /30 mm;靈敏度 S≥3 000 mVg ml/mg。
d)確認氣密性良好、各種相關儀器運行正常后,裝入(50±0.1)g待測煤樣,煤樣上方均勻覆蓋一 層厚度為2 mm?3 mm的石棉,對氣流進行過濾防止堵塞氣路。
e)裝樣完畢后應再次檢查儀器氣密性。
6.1.4 氣相色譜儀的校準
氣相色譜儀的校準應滿足以下條件:連續兩次標準氣樣的分析結果之間的差值在±0.02%以內。
6.2 氧氣濃度和交叉點溫度的測定
a)以96 ml/mm的穩定流量向煤樣罐通入干空氣(氧氣濃度為20.96% ),同時控溫箱設定為 40℃恒溫運行。
b)煤樣溫度達到35 ℃時,將通入煤樣罐的干空氣流量調為8 ml/mm并保持穩定,控溫箱仍然 40℃恒溫運行。
以上為標準部分內容,如需看標準全文,請到相關授權網站購買標準正版。
-
IG541混合氣體滅火系統
IG541混合氣體滅火系統:IG-541滅火系統采用的IG-541混合氣體滅火劑是由大氣層中的氮氣(N2)、氬氣(Ar)和二氧化碳(CO2)三種氣體分別以52%、40%、8%的比例混合而成的一種滅火劑 -
二氧化碳氣體滅火系統
二氧化碳氣體滅火系統:二氧化碳氣體滅火系統由瓶架、滅火劑瓶組、泄漏檢測裝置、容器閥、金屬軟管、單向閥(滅火劑管)、集流管、安全泄漏裝置、選擇閥、信號反饋裝置、滅火劑輸送管、噴嘴、驅動氣體瓶組、電磁驅動 -
七氟丙烷滅火系統
七氟丙烷(HFC—227ea)滅火系統是一種高效能的滅火設備,其滅火劑HFC—ea是一種無色、無味、低毒性、絕緣性好、無二次污染的氣體,對大氣臭氧層的耗損潛能值(ODP)為零,是鹵代烷1211、130 -
手提式干粉滅火器
手提式干粉滅火器適滅火時,可手提或肩扛滅火器快速奔赴火場,在距燃燒處5米左右,放下滅火器。如在室外,應選擇在上風方向噴射。使用的干粉滅火器若是外掛式儲壓式的,操作者應一手緊握噴槍、另一手提起儲氣瓶上的


