MT/T 593.5-2011 人工凍土物理力學性能試驗 第5部分:人工凍土三軸剪切強度試驗方法
- 發表時間:2022-10-05
- 來源:共立消防
- 人氣:
1 范圍
MT/T 593的本部分規定了人工凍土多試樣和單試樣三軸壓縮試驗用儀器、設備,試樣,基本要求,試驗步驟和計算、制圖。
本部分適用于對凍結原狀土及凍結重塑土三軸壓縮強度參數測試和計算。
2 規范性引用文件
下列文件中的條款通過MT/T593的本部分的引用而成為本部分的條款。凡是注日期的引用文件,其隨后所有的修改單(不包括勘誤的內容)或修訂版均不適用于本部分,然而,鼓勵根據本部分達成協議的各方研究是否可使用這些文件的最新版本。凡是不注日期的引用文件,其最新版本適用于本部分。
MT/T 593.1 人工凍土物理力學性能試驗 第1部分:人工凍土試驗取樣及試樣制備方法
MT/T 593.3 人工凍土物理力學性能試驗 第3部分:人工凍土靜水壓力下固結試驗方法
MT/T 593.4 人工凍土物理力學性能試驗 第4部分:人工凍土單軸抗壓強度試驗方法
3 術語和定義
下列術語和定義適用于本標準。
3.1
三軸剪切試驗 tri-axial shear test
在不同的恒定圍壓(即小主應力)下施加軸向壓應力(主應力差)進行剪切直至破壞過程。
4 試驗用儀器、設備
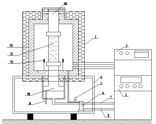
4.1 三軸壓縮試驗儀(如圖1所示):變速率可調,最大軸向荷載200 kN,圍壓6 MPa(適用于土層埋深小于300 m)、12 MPa(適用于土層埋深小于700 m)或20 MPa(適用于土層埋深小于1200 m),波動度不超過10 kPa。
4.2 應力及變形測試元件:壓力傳感器(量程0 kN~200 kN,精度1%);位移傳感器(軸向量程0 mm~50 mm,精度1%);數據自動采集系統等。
4.3 溫度傳感器:量程 -40℃~+40℃,精度0.2℃。
4.4 冷卻及溫控設備。
4.5 試驗用含水率、密度測試裝置。

1-油缸 2-制冷系統 3-液壓系統 4-支座 5-圍壓量測裝置 6-體變量測裝置 7-軸壓加載油路8-圍壓加載油路 9-軸向位移傳感器 10-軸向加載活塞 11-溫度傳感器 12-試樣 13-保溫層 14-軸向壓力傳感器
圖1 低溫三軸壓縮試驗儀
5 試樣
5.1 采用凍結原狀土試樣和凍結重塑土試樣,其制備方法按MT/T 593.1中6.2.2和6.2.3的規定進行。
5.2 試驗規格應與MT/T 593.4所采用的試樣規格一致。
5.3 試樣數量:1個(單試樣分級加載)或3~4個(多試樣加載)。
6 基本要求
6.1 試驗應在規定的試驗溫度中進行。
6.2 溫度波動度小于等于±0.2℃。
6.3 只有一種試驗溫度時,應選擇-10℃;若有多種試驗溫度時,其中應有-10℃;如果有特殊要求,可另選試驗溫度。
6.4 試驗前各試驗用儀器、設備應校正合格。
7 試驗步驟
7.1 多試樣三軸壓縮試驗
7.1.1 核實試樣的來源、編號、密度、含水率,并填入附錄A表內。
7.1.2 根據試樣所處層位的靜水壓力0.013 H,其中H為試驗土層深度(單位m),確定出三級圍壓值:(0.013 H-1)MPa、(0.013H)MPa和(0.013H+1)MPa,或(0.013H)MPa、(0.013H+1)MPa和(0.013H+2)MPa(當深度小于120m時)。
7.1.3 按MT/T593.3中7.1~7.7步驟進行試樣固結。
7.1.4 軸向應變速率取1%/min。
7.1.5 啟動三軸試驗儀,測讀體變測量儀的數值,試驗過程中圍壓波動度不大于±10kPa。
7.1.6 試驗開始階段,試樣應變每增加0.3%~0.4%測讀軸向荷載及變形各一次,當應變達3%以后,每增加0.6%~0.7%各測讀一次,體積變化由體變測量儀隨時記錄。如果試樣特別硬脆或軟弱,可增加或減少測讀的次數。
7.1.7 當軸向應力不再增加時,繼續加載到軸向應變增加3%~5%,若壓力傳感器讀數無明顯變化,試驗直至軸向應變達到20%為止,記錄荷載及變形終值。
7.1.8 試驗結束后卸去軸向荷載和圍壓,描述試樣破壞后形狀,測定試驗后試樣的含水率和密度。
7.1.9 對其余幾個試樣,在不同圍壓下按7.1.1~7.1.8規定的步驟進行。
7.2 單試樣分級加載三軸剪切試驗
7.2.1 按7.1.1~7.1.6規定的步驟進行。
7.2.2 當荷載值接近穩定(主應力差小于5kPa)或軸向應變達到彈性極限后剛出現屈服時,停止加載。記錄荷載及軸向變形。
7.2.3 卸去軸向荷載,施加第二級圍壓,固結穩定之后按7.1.4~7.1.6和7.2.2規定的步驟進行。
7.2.4 卸去軸向荷載,施加第三級圍壓,固結穩定之后按7.1.4~7.1.6和7.2.2規定的步驟進行,最后一級圍壓下的剪切直至試樣破壞為止。
7.2.5 按7.1.8的規定進行。
8 計算、制圖
8.1 試樣固結后高度、面積及剪切時的軸向應變、面積計算
8.1.1 多試樣三軸剪切試驗
a)固結后的試樣高度及面積:
hc = h0 - Δhc ………………………………………………………(1)
Ac = (V0 - ΔVc)/hc……………………………… …………………(2)
式中:
hc——固結后試樣高度,單位為毫米(mm);
h0——固結前試樣高度,單位為毫米(mm);
Δhc——固結后試樣高度的變化量,單位為毫米(mm);
Ac——固結后試樣截面積,單位為平方毫米(mm2);
V0——固結前試樣體積,單位為立方毫米(mm3);
ΔVc——固結后試樣體積變化量,單位為立方毫米(mm3)。
b)剪切時的試樣應變及面積:
ε1 = Δh/hc ……………………………………………………………(3)
ε3 = ΔD/D0 ……………………………………………………………(4)
Aa = Ac/(1-ε1)…………………………………………………………(5)
式中:
ε1——軸向應變;
Δh——剪切過程中試樣軸向變形,單位為毫米(mm);
ε3——試樣平均徑向應變;
以上為標準部分內容,如需看標準全文,請到相關授權網站購買標準正版。
-
IG541混合氣體滅火系統
IG541混合氣體滅火系統:IG-541滅火系統采用的IG-541混合氣體滅火劑是由大氣層中的氮氣(N2)、氬氣(Ar)和二氧化碳(CO2)三種氣體分別以52%、40%、8%的比例混合而成的一種滅火劑 -
二氧化碳氣體滅火系統
二氧化碳氣體滅火系統:二氧化碳氣體滅火系統由瓶架、滅火劑瓶組、泄漏檢測裝置、容器閥、金屬軟管、單向閥(滅火劑管)、集流管、安全泄漏裝置、選擇閥、信號反饋裝置、滅火劑輸送管、噴嘴、驅動氣體瓶組、電磁驅動 -
七氟丙烷滅火系統
七氟丙烷(HFC—227ea)滅火系統是一種高效能的滅火設備,其滅火劑HFC—ea是一種無色、無味、低毒性、絕緣性好、無二次污染的氣體,對大氣臭氧層的耗損潛能值(ODP)為零,是鹵代烷1211、130 -
手提式干粉滅火器
手提式干粉滅火器適滅火時,可手提或肩扛滅火器快速奔赴火場,在距燃燒處5米左右,放下滅火器。如在室外,應選擇在上風方向噴射。使用的干粉滅火器若是外掛式儲壓式的,操作者應一手緊握噴槍、另一手提起儲氣瓶上的


