GB/T 22459.2-2022 耐火泥漿 第2部分:稠度試驗方法(跳桌法)
- 發表時間:2022-11-27
- 來源:共立消防
- 人氣:
1 范圍
本文件規定了耐火泥漿稠度試驗方法的原理、儀器設備、取樣、試驗程序、結果計算和試驗報告。
本文件適用于耐火泥漿稠度(跳桌法)的測定。
2 規范性引用文件
下列文件中的內容通過文中的規范性引用而構成本文件必不可少的條款。其中,注日期的引用文件,僅該日期對應的版本適用于本文件;不注日期的引用文件,其最新版本(包括所有的修改單)適用于本文件。
GB/T 4513.2 不定形耐火材料 第2部分:取樣(GB/T 4513.2-2017,ISO 1927-2:2012,IDT)
GB/T 8170 數值修約規則與極限數值的表示和判定
GB/T 18930 耐火材料術語(GB/T 18930-2020,ISO 836:2001,MOD)
GB/T 22459.1 耐火泥漿 第1部分:稠度試驗方法(錐入度法)(GB/T 22459.1-2022,ISO 13765-1:2004,MOD)
3 術語和定義
GB/T 18930和GB/T 22459.1界定的術語和定義適用于本文件。
4 原理
試樣在跳桌的機械振動作用下,直徑增加,以直徑增加的百分率來表示耐火泥漿的稠度。
5 儀器設備
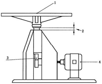
5.1 跳桌:結構示意圖見圖1。跳桌桌臺可通過電機驅動凸輪機構提升高度,然后靠重力作用自由降落,并按此方式重復性地做上下間歇跳動,跳幅為12.7mm±0.1mm(見圖1標引序號2),跳動頻率為15s跳動25次。跳桌臺面圓形,直徑254mm±2.7mm,表面光潔平整、不滲水,并耐試樣和環境侵蝕。
5.2 截頭圓錐模具:形狀尺寸見圖2。模具內表面應光潔不滲水,宜用不銹鋼或其他耐試樣或環境侵蝕的材料制作。
5.3 攪拌機:符合GB/T 22459.1的規定。
5.4 溫度計:最小分度值不大于1℃。
5.5 抹刀。
5.6 量筒:最小分度值不大于5mL。
5.7 天平:最小分度值不大于1g。
5.8 游標卡尺或帶刻度的直尺:最小分度值不大于0.5mm。
6 取樣
按GB/T 4513.2的規定取樣或由相關方協商。
標引序號說明:

1——跳桌臺面;
2——跳桌桌臺下落距離;
3——凸輪機構;
4——電機。
圖1 跳桌
單位為毫米

圖2 截頭圓錐模具
7 試驗程序
7.1 試驗前,試料應在18℃~22℃下放置24h。試驗時,試驗室溫度和加入的水(或規定的液體)溫度應保持在18℃~22℃。
7.2 試驗前,跳桌宜先空跳25次,以檢查跳桌是否能正常跳動。跳桌表面應擦拭干凈,然后將清潔、干燥的截頭圓錐模具放在跳桌中心。
7.3 干粉泥漿,稱取試樣(有外加劑時應按比例加入,并記錄加入量)置于攪拌機中,按產品使用說明加水(或規定的液體),混合均勻。記錄加液量。將混合好的泥漿密封放置15min,再次攪拌均勻,第2次攪拌時間一般不少于2min,或根據產品使用說明進行操作。對于預攪拌泥漿,應將包裝容器中的全部泥漿混合均勻后進行測試。
7.4 測量混合好的泥漿的溫度,精確至1℃。
7.5 在模具中均勻地裝滿泥漿。用抹刀將泥漿表面抹平,并修至與模具上部齊平。垂直提起模具,用抹刀將留在模具內的泥漿刮下,并放在跳桌上泥漿表面的中心。使跳桌在15s內均勻跳動25次。在相互垂直的兩個方向上測量泥漿的直徑,取其平均值作為平均直徑,精確至毫米。
7.6 按7.5的規定重復測量2次。
8 結果計算
按公式(1)計算直徑增加率F,表示耐火泥漿的稠度,以%表示:

式中:
F——稠度(直徑增加率),%;
D——泥漿的平均直徑,單位為毫米(mm);
D0——模具下底的內徑,單位為毫米(mm)。
以3次試驗結果的平均值作為泥漿稠度的試驗結果,精確至1%,并按GB/T 8170修約。
9 試驗報告
試驗報告應包括以下內容:
a)材料名稱、種類、牌號、批號及委托方等;
b)執行的標準;
c)檢測機構的名稱;
d)干粉泥漿加水(或規定的液體)量及外加劑的質量分數;
e)試驗結果,包括試驗的單值和平均值;
f) 試驗環境溫度;
g)混合均勻后泥漿的溫度;
h)與規定操作程序的任何差異;
i) 試驗過程中觀察到的任何異常現象;
j) 試驗日期:
k)試驗人員。
以上為標準部分內容,如需看標準全文,請到相關授權網站購買標準正版。
-
IG541混合氣體滅火系統
IG541混合氣體滅火系統:IG-541滅火系統采用的IG-541混合氣體滅火劑是由大氣層中的氮氣(N2)、氬氣(Ar)和二氧化碳(CO2)三種氣體分別以52%、40%、8%的比例混合而成的一種滅火劑 -
二氧化碳氣體滅火系統
二氧化碳氣體滅火系統:二氧化碳氣體滅火系統由瓶架、滅火劑瓶組、泄漏檢測裝置、容器閥、金屬軟管、單向閥(滅火劑管)、集流管、安全泄漏裝置、選擇閥、信號反饋裝置、滅火劑輸送管、噴嘴、驅動氣體瓶組、電磁驅動 -
七氟丙烷滅火系統
七氟丙烷(HFC—227ea)滅火系統是一種高效能的滅火設備,其滅火劑HFC—ea是一種無色、無味、低毒性、絕緣性好、無二次污染的氣體,對大氣臭氧層的耗損潛能值(ODP)為零,是鹵代烷1211、130 -
手提式干粉滅火器
手提式干粉滅火器適滅火時,可手提或肩扛滅火器快速奔赴火場,在距燃燒處5米左右,放下滅火器。如在室外,應選擇在上風方向噴射。使用的干粉滅火器若是外掛式儲壓式的,操作者應一手緊握噴槍、另一手提起儲氣瓶上的


