GB/T 9978.7-2008 建筑構件耐火試驗方法 第7部分:柱的特殊要求
- 發表時間:2022-12-01
- 來源:共立消防
- 人氣:
1 范圍
GB/T 9978的本部分規定了確定柱構件耐火性能的試驗程序。
柱在進行耐火試驗時所有軸向側面均受火,當實際受火面少于四個時,應重新確定相應的試驗條件。
當未經試驗建筑構件的結構符合本部分給出的直接應用范圍規定的條件時,已按本部分規定進行耐火試驗的構件耐火性能結果可應用于未經試驗的同類建筑構件。
附錄A提供了該試驗方法的一般性指導。
2 規范性引用文件
下列文件中的條款通過GB/T 9978的本部分的引用而成為本部分的條款。凡是注日期的引用文件,其隨后所有的修改單(不包括勘誤的內容)或修訂版均不適用于本部分。然而,鼓勵根據本部分達成協議的各方研究是否可使用這些文件的最新版本。凡是不注日期的引用文件,其最新版本適用于本部分。
GB/T 5907 消防基本術語 第一部分
GB/T 9978.1 建筑構件耐火試驗方法 第1部分:通用要求(GB/T 9978.1-2008,ISO 834-1:1999,MOD)
3 術語和定義
GB/T 5907和GB/T 9978.1確立的以及下列術語和定義適用于本部分。
3.1
柱 column
用于垂直承重的非分隔性建筑構件。
3.2
偏心距 controlled eccentricity
從柱的垂直中心軸到承載點的距離。
3.3
承載法蘭盤 loading platens
用于加載裝置和柱的末端之間,保證正確施加荷載的平板。
4 符號和縮略語
GB/T 9978.1規定的符號和縮略語適用于本部分。
5 試驗裝置
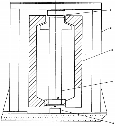
本部分所采用的試驗裝置與GB/T 9978.1中的相關規定相同,其中包括試驗爐、加載裝置、約束部件和支撐框架。柱加載試驗裝置的示意見圖1。

1——承載法蘭盤;
2——加載框架;
3——爐體;
4——耐火試驗的柱;
5——液壓缸。
圖1 柱加載試驗布置的示意圖
6 試驗條件
6.1 總則
試驗過程中的爐內升溫條件、爐內壓力和加載條件均應符合GB/T 9978.1中的相關規定和本部分的要求。
6.2 約束和邊界條件
約束和邊界條件應符合GB/T 9978.1中的相關規定和本部分的要求。
6.3 加載條件
6.3.1 柱的試驗加載值應按照GB/T 9978.1中6.3a)、b)或c)的規定進行計算,并與委托方協商以使設計出的結構能被接受。用于柱荷載計算的材料特性應由委托方詳細提供并指明來源。
6.3.2 當試件的高度過大,試驗爐無法安裝時,應按照承重試件的高細比調整荷載,因此委托方應提供該試件尺寸調整后的設計荷載值。
6.3.3 應對試件的末端進行設計,使荷載能夠按照要求的穩定度和偏心率從承載法蘭盤傳遞到試件。頂端和底端承載面應相互平行并與柱的軸線垂直,以避免產生偏心位移。
6.3.4 為避免加載裝置受熱,應對試件兩端的接觸軸環進行防護。采取的防護措施應方便試驗柱的定位、為試驗爐內表面提供充分密封、要有適當的接觸和支撐,確保在整個加熱過程中加載裝置的位置不受影響。
密封方法應當允許試件在爐內移動,且不影響荷載從承載法蘭盤傳遞到試件上以及試件末端的約束條件。
6.3.5 加載系統的壓縮位移量應滿足試件最大變形的要求。
7 試件準備
7.1 試件設計
當實際應用中的耐火層有接縫時,在試件的中部高度至少應設計有一個典型的接縫。
當柱使用中空包覆層時,包覆層的約束位置應能代表其在實際應用中的安裝與約束條件。頂部的縫隙 、包覆層與柱之間的縫隙應按與實際使用相同的條件填充。
當試驗柱包覆耐火層后,應采取措施防止因承載而使耐火層受到附加的影響力。
7.2 試件尺寸
試件的尺寸應為其實際尺寸。當試件的高度超過3m時,試件受火部分的尺寸不應小于3m。試件受火高度的每一端最多加高不能大于300mm,這段超出的高度用于將試件固定在加載裝置上,同時也起到分隔加載裝置與爐內環境的作用。超出的高度應盡可能小,以減少熱傳導損失。
7.3 試件數量
試件數量應符合GB/T 9978.1和本部分中的規定。
7.4 試件養護
在試驗過程中,試件包括其填充和連接材料的強度和含水量應與在正常使用情況的條件相符,GB/T 9978.1給出了試件養護的指南。當達到平衡時,應測定并記錄試件的含水量和養護狀態。包括框架護襯的任何支撐結構不受上述要求的約束。
7.5 試件安裝和約束
7.5.1 試件的兩端的約束應模擬實際使用條件采用剛性連接方式或鉸接方式。但是,在一種約束方式條件下得到的數據不能直接轉換為在另一種約束方式條件下的數據。當需要全面的結果時,應在不同的約束條件下進行相應試驗。當試件的一端或兩端采用鉸接時,應確保沒有摩擦阻力。
7.5.2 當使用鉸接時,可通過在柱和加載裝置之間使用球狀連接、柱狀輥輪或者刃狀連接來代表。當使用柱狀輥輪時,其軸線應平行于柱截面的短軸。
7.5.3 鉸接件應安置在兩個承載板之間(一端與加載裝置固定,另一端與柱接觸)以改進在柱截面上的荷載分布。
7.5.4 應準確選擇鉸接件與柱中心軸的相對位置,以控制荷載的偏心距不超過L/500(L為柱的計算長度)或7mm。應盡量減小鉸接件的摩擦阻力。
7.5.5 當采用固端連接時,應確保承載法蘭盤和柱的端面接觸。
8 儀器使用
8.1 爐內熱電偶
試驗爐內的溫度應使用熱電偶測量,熱電偶應均勻分布以測量試件區域的真實溫度。熱電偶的組成和位置按GB/T 9978.1中的規定。
在試驗爐內,與試件相對的位置至少安置6支熱電偶,兩兩相對分別位于試件受火長度的1/4、1/2和3/4處。
以上為標準部分內容,如需看標準全文,請到相關授權網站購買標準正版。
-
IG541混合氣體滅火系統
IG541混合氣體滅火系統:IG-541滅火系統采用的IG-541混合氣體滅火劑是由大氣層中的氮氣(N2)、氬氣(Ar)和二氧化碳(CO2)三種氣體分別以52%、40%、8%的比例混合而成的一種滅火劑 -
二氧化碳氣體滅火系統
二氧化碳氣體滅火系統:二氧化碳氣體滅火系統由瓶架、滅火劑瓶組、泄漏檢測裝置、容器閥、金屬軟管、單向閥(滅火劑管)、集流管、安全泄漏裝置、選擇閥、信號反饋裝置、滅火劑輸送管、噴嘴、驅動氣體瓶組、電磁驅動 -
七氟丙烷滅火系統
七氟丙烷(HFC—227ea)滅火系統是一種高效能的滅火設備,其滅火劑HFC—ea是一種無色、無味、低毒性、絕緣性好、無二次污染的氣體,對大氣臭氧層的耗損潛能值(ODP)為零,是鹵代烷1211、130 -
手提式干粉滅火器
手提式干粉滅火器適滅火時,可手提或肩扛滅火器快速奔赴火場,在距燃燒處5米左右,放下滅火器。如在室外,應選擇在上風方向噴射。使用的干粉滅火器若是外掛式儲壓式的,操作者應一手緊握噴槍、另一手提起儲氣瓶上的


