GB/T 5989-2008 耐火材料 荷重軟化溫度試驗方法 示差升溫法
- 發表時間:2022-12-21
- 來源:共立消防
- 人氣:
1 范圍
本標準規定了示差法測定致密和隔熱定形耐火材料在恒定壓力下按規定的制度升溫而產生變形(荷重軟化溫度)的方法。本試驗最高溫度可進行到1700℃。
2 規范性引用文件
下列文件中的條款通過本標準的引用而成為本標準的條款。凡是注日期的引用文件,其隨后所有的修改單(不包括勘誤的內容)或修訂版均不適用于本標準,然而,鼓勵根據本標準達成協議的各方研究是否可使用這些文件的最新版本。凡是不注日期的引用文件,其最新版本適用于本標準。
GB/T 1214.2 游標類卡尺 游標卡尺
GB/T 16839.1 熱電偶 第1部分:分度表(GB/T 16839.1-1997,idt IEC 60584-1:1995)
GB/T 16839.2 熱電偶 第2部分:允差(GB/T 16839.2-1997,idt IEC 60584-2:1982)
3 術語和定義
本標準采用下列術語和定義。
3.1
荷重軟化溫度 refractoriness-under-load
耐火材料在規定的升溫條件下,承受恒定荷載產生規定變形時的溫度。
4 原理
圓柱體試樣在規定的恒定載荷和升溫速率下加熱,直到其產生規定的壓縮形變,記錄升溫時試樣的形變,測定在產生規定形變量時的相應溫度。
5 設備
5.1 加荷裝置
5.1.1 概述
加荷裝置應能在整個試驗過程中沿加壓棒、試樣和支承棒的公共軸心線垂直施加壓力,加荷裝置的具體組成見5.1.2~5.1.4。
恒定載荷豎直向下直接施加于試樣上面或間接的通過固定的支承棒施加于試樣上面,試樣的形變由通過加壓棒或支承棒中心的測量裝置來測量。
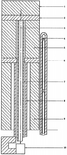
圖1和圖2示出的測量裝置通過支承棒中心位于系統下放。也可將帶通孔的支承棒和墊片與不帶通孔的支承棒和墊片交換位置,測量裝置通過加壓棒位于系統上方,如圖3所示。
盡管本標準給出了兩種裝置,但測量裝置在整個設備下方則更為可取,如圖2所示。原因見附錄A。
5.1.2 支承棒
直徑至少45mm,并帶有軸向孔(見5.1.5)。
5.1.3 加壓棒
直徑至少45mm。
注:上部的加壓棒可以固定在爐子上,爐子和加壓棒構成可移動的加荷裝置。

1——加壓棒(5.1.3),外徑至少45mm*;
2——上墊片(5.1.4),外徑至少50.5mm;
3——鉑銠墊片,外徑50.5mm*,內徑12mm;
4——試樣(6.1),外徑50±0.5mm,內徑最小12mm,最大13mm;
5——鉑銠墊片,外徑50.5mm*,內徑10mm;
6——下墊片(5.1.4),外徑50.5mm*,內徑10mm;
7——支承棒(5.1.2),外徑至少45mm,內徑至少20mm;
8——內剛玉管(5.3.2),外徑8mm*,內徑5mm*;
9——中心熱電偶(5.4.1);
10——外剛玉管(5.3.1),外徑15mm*,內徑10mm*.
注:帶*的為典型尺寸。
圖1 試樣、壓棒、墊片及剛玉管安裝示意圖

1——加壓棒;
2——墊片;
3——中心熱電偶;
4——控溫熱電偶;
5——試樣;
6——墊片;
7——內剛玉管;
8——外剛玉管;
9——支承棒;
10——測量儀器。
圖2 試驗裝置——測量系統在試樣下方
以上為標準部分內容,如需看標準全文,請到相關授權網站購買標準正版。
-
IG541混合氣體滅火系統
IG541混合氣體滅火系統:IG-541滅火系統采用的IG-541混合氣體滅火劑是由大氣層中的氮氣(N2)、氬氣(Ar)和二氧化碳(CO2)三種氣體分別以52%、40%、8%的比例混合而成的一種滅火劑 -
二氧化碳氣體滅火系統
二氧化碳氣體滅火系統:二氧化碳氣體滅火系統由瓶架、滅火劑瓶組、泄漏檢測裝置、容器閥、金屬軟管、單向閥(滅火劑管)、集流管、安全泄漏裝置、選擇閥、信號反饋裝置、滅火劑輸送管、噴嘴、驅動氣體瓶組、電磁驅動 -
七氟丙烷滅火系統
七氟丙烷(HFC—227ea)滅火系統是一種高效能的滅火設備,其滅火劑HFC—ea是一種無色、無味、低毒性、絕緣性好、無二次污染的氣體,對大氣臭氧層的耗損潛能值(ODP)為零,是鹵代烷1211、130 -
手提式干粉滅火器
手提式干粉滅火器適滅火時,可手提或肩扛滅火器快速奔赴火場,在距燃燒處5米左右,放下滅火器。如在室外,應選擇在上風方向噴射。使用的干粉滅火器若是外掛式儲壓式的,操作者應一手緊握噴槍、另一手提起儲氣瓶上的


