GB 12514.2-2006 消防接口 第2部分:內扣式消防接口型式和基本參數
- 發表時間:2022-11-06
- 來源:共立消防
- 人氣:
1 范圍
本部分規定了內扣式消防接口的型式和基本參數。
本部分適用于消防供水系統中的內扣式消防水帶接口、吸水管接口、管牙接口、悶蓋、內螺紋固定接口、外螺紋固定接口、異徑接口(以下簡稱接口)。
本部分不適用于鋼帶沖制的接口。
2 規范性引用文件
下列文件中的條款通過GB12514的本部分的引用而成為本部分的條款。凡是注日期的引用文件,其隨后所有的修改單(不包括勘誤的內容)或修訂版均不適用于本部分,然而,鼓勵根據本部分達成協議的各方研究是否可使用這些文件的最新版本。凡是不注日期的引用文件,其最新版本適用于本部分。
GB/T 1804-2000 一般公差 未注公差的線性和角度尺寸的公差
3 接口的型式和規格
接口的型式和規格應符合表1的規定。
表 1
接口型式 | 規格 | 適用介質 | ||
名稱 | 代號 | 公稱通徑/mm | 公稱壓力/MPa | |
水帶接口 | KD | 25、40、50、65、80、100、125、135、150 | 1.6 2.5 | 水、泡沫混合液 |
KDN | ||||
管牙接口 | KY | |||
悶蓋 | KM | |||
內螺紋固定接口 | KN | |||
外螺紋固定接口 | KWS | |||
KWA | ||||
異徑接口 | KJ | 兩端通徑可在通徑系列內組合 | ||
注:KD表示外箍式連接的水帶接口。KDN表示內擴張式連接的水帶接口。KWS表示地上消火栓用外螺紋固定接口。KWA表示地下消火栓用外螺紋固定接口。 | ||||
4 接口的結構
接口的結構應符合圖1~圖8的規定。

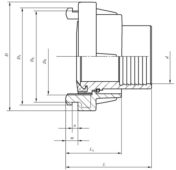
圖1 KD型水帶接口

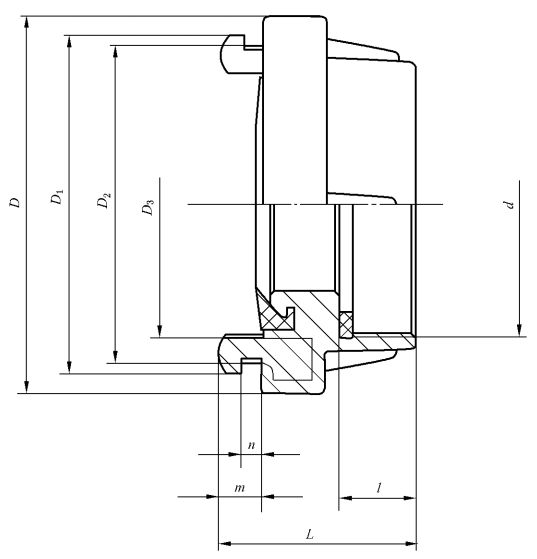
圖2 KDN型水帶接口

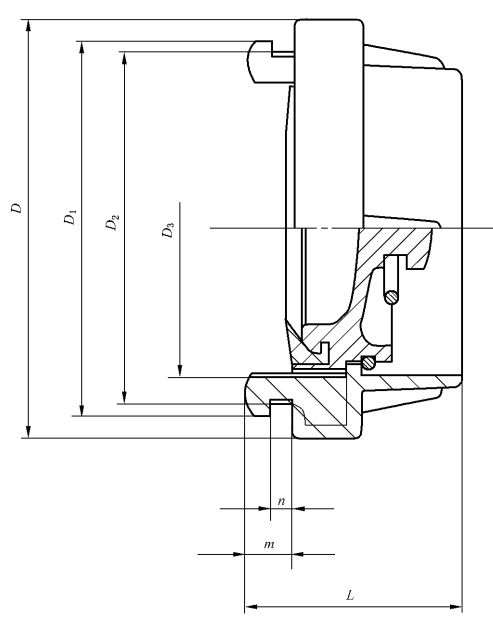
圖3 KY型管牙接口

圖4 KM型悶蓋
以上為標準部分內容,如需看標準全文,請到相關授權網站購買標準正版。
推薦資訊
推薦產品
-
IG541混合氣體滅火系統
IG541混合氣體滅火系統:IG-541滅火系統采用的IG-541混合氣體滅火劑是由大氣層中的氮氣(N2)、氬氣(Ar)和二氧化碳(CO2)三種氣體分別以52%、40%、8%的比例混合而成的一種滅火劑 -
二氧化碳氣體滅火系統
二氧化碳氣體滅火系統:二氧化碳氣體滅火系統由瓶架、滅火劑瓶組、泄漏檢測裝置、容器閥、金屬軟管、單向閥(滅火劑管)、集流管、安全泄漏裝置、選擇閥、信號反饋裝置、滅火劑輸送管、噴嘴、驅動氣體瓶組、電磁驅動 -
七氟丙烷滅火系統
七氟丙烷(HFC—227ea)滅火系統是一種高效能的滅火設備,其滅火劑HFC—ea是一種無色、無味、低毒性、絕緣性好、無二次污染的氣體,對大氣臭氧層的耗損潛能值(ODP)為零,是鹵代烷1211、130 -
手提式干粉滅火器
手提式干粉滅火器適滅火時,可手提或肩扛滅火器快速奔赴火場,在距燃燒處5米左右,放下滅火器。如在室外,應選擇在上風方向噴射。使用的干粉滅火器若是外掛式儲壓式的,操作者應一手緊握噴槍、另一手提起儲氣瓶上的
最新資訊


